Slik monterer du markisen selv
Det er ingen sak å montere terrassemarkisen på egen hånd – så lenge du kan disse triksene!

Med riktig montering gir en markise både skygge og stil til uteplassen.
Enklere enn du tror å montere markise
Mange går for enkleste løsning og velger å betale for monteringshjelp når de nye markisene skal på plass. Det er det ingen grunn til, for dette er noe alle kan klare, mener Arnt Einar Gjøvåg, teknisk sjef hos HP Schou.
– Det er ikke så vanskelig som mange tror, men det er tre ting du må være nøye med: Underlag, festemateriell og oppmåling, sier Gjøvåg.
Sikker montering av markisen
En terrassemarkise kan være tung, så det er det viktig å sjekke underlaget før montering. Har du trevegg bør du forsikre deg om at treverket ikke er råttent eller morkent, og at det er i stand til å holde oppe en markise.
– Det absolutt sikreste er å montere markisen i stenderne, da skal det holde uansett. Er underlaget av mur eller lettbetong, må du bruke festemateriell beregnet til det, forteller Gjøvåg.
Et godt tips er å være to ved montering, da det fort kan bli tungt å holde markisen alene.
– To personer monterer lett en tremeters markise i løpet av en time. Og det er faktisk bare seks skruer som skal på plass, opplyser Gjøvåg.
FÅ BEST PRIS på markiser og mye mer hos Obs Bygg! Les mer om lavprisløftet vårt her.

Vær nøye med forarbeidet
Videre må du se etter om det er to eller tre monteringsbeslag, og ta utgangspunkt i bredden på markisen og avstanden mellom veggfestene når du skal måle opp på veggen.
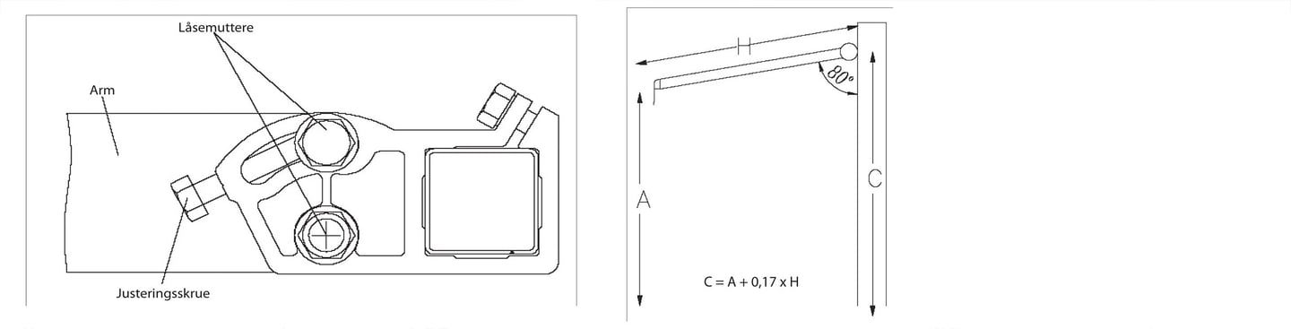
– Vær grundig og bruk vater, det er veldig viktig! Er du nøye med forarbeidet, så blir monteringsjobben langt enklere, råder Gjøvåg, som anbefaler å bruke justeringsskruer for riktig helling på markisen.
– Det er spesielt viktig dersom markisen skal monteres oppunder et tak eller et utbygg fra veggen, da må du kunne tilte markisen så den får plass til å gå helt ut. På våre markiser kan du variere hellingen fra 0 til 45 grader, alt ettersom hva som passer deg best. Husk bare at markisen bør ha minimum 15 graders fall for at regnet skal kunne renne av duken.

Når markisen er montert
Så snart jobben er gjort, bør du sørge for å impregnere duken med teltimpregnering. Det beskytter markisen mot vær og vind, og gjør den mer motstandsdyktig mot jordslag. I tillegg anbefaler Gjøvåg å rengjøre markiseduken minst én gang i løpet av sesongen.
– Du trenger bare vanlig såpe, klut og vann. Det er veldig fort gjort, og du vil få mye mer glede av markisen om du er flink med å holde den ren.
TIPS! Slik gjør du maks ut av uteplassen din.
Monteringsjobben steg for steg:

1. Sørg for at underlaget er av god nok stand til å bære en tung markise.
2. Bruk riktig festemateriell beregnet for underlaget som markisen skal monteres på.
3. Monter beslagene etter anvisning (2 stk. beslag til 3 og 3,5 meter markise, og 3 stk. beslag til 4,8 meter markise.)
4. Pass på at du treffer stendere ved montering i treverk.
5. Skru boltene ut av forsiden av beslagene og sett den innerste tverrstangen til markisen inn i beslagene. Spenn markisen fast i beslagene ved hjelp av boltene.
6. Bruk et vaterpass og kontroller at markisen er i vater. Hvis den ikke er i vater, må du løsne låsemutrene i hver ende av markisen, vri på justeringsskruen til markisen er i vater og spenne låsemutrene fast på nytt. Bruk samme metode for å endre vinkelen på markisen i forhold til underlaget.
7. Kontroller at spissen sitter forsvarlig fast på monteringsstedet.
(Kilde: hpschou.no)










